
蓝鲸新闻12月5日讯(记者 朱欣悦)近日,贵州省白酒企业商会发布官方声明,公开表示“完全支持并声援”贵州无忧酒业(集团)有限公司及其创始人、董事长袁明权。该声明强调,商会“坚信无忧酒业的初心与能力从未改变”。
“无忧”不再无忧。此次事件不仅是一家区域酒企的个体表现,更成为行业深度调整期的标志性信号。在白酒行业整体从规模扩张转向价值深耕的转型阶段,部分中小酒企依靠粗放扩张、高杠杆运营的发展模式已难以为继。无忧酒业的困境,实则揭开了中小酒企淘汰赛的序幕。
无忧不再“无忧”
在这份声明中,贵州省白酒企业商会明确表示,认同袁明权此前发布的公开致歉与反思内容,并呼吁各方“客观、全面看待企业发展过程中的阶段性困难”。
声明指出,无忧酒业作为贵州白酒产业的一员,“长期以来为地方经济发展和酱酒品牌建设作出了积极贡献”。
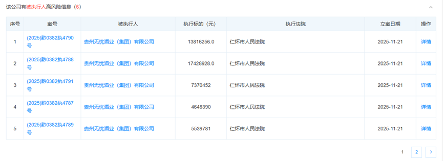
此次商会发声的背景,是无忧酒业近期密集出现了危险信号。
据天眼查显示,无忧酒业于11月21日新增6则被执行人信息,执行法院为仁怀市人民法院,总执行标的约为6255.51万元。据悉,这是无忧酒业首次被列为被执行人。

图片来源:天眼查
无忧酒业是茅台镇大型酱酒企业之一。据贵州无忧酒业(集团)有限公司官网显示,无忧酒业的前身是1983年成立的仁怀县茅台镇渡口酒厂。地处中国酱香白酒核心产区,拥有三个产区,占地面积400余亩,年产优质大曲酱香型白酒7000余吨;现有员工1400余人。
对此,袁明权发布公开声明,承认对市场趋势存在误判,并表示“过于激进的扩张策略”导致企业在行业调整期中陷入被动。他坦言:“作为企业的掌舵人,我对此负有不可推卸的责任。”
袁明权进一步称,公司已断然停止一切非核心扩张与投资,全员进入战时状态,压倒一切的目标是:生存,并稳定基本盘。
白酒分析师肖竹青对蓝鲸新闻记者指出,无忧酒业面临着环境与模式的双重夹击,一方面,当前白酒消费趋于理性,投机性需求萎缩,缺乏品牌根基的企业首当其冲受到影响。另一方面,其指出无忧酒业“预售+金融化”的商业模式存在弊端,即通过承诺高回报吸纳经销商资金,当库存积压、价格倒挂时,资金链容易出现断裂。
白酒行业步入理性回归期
此次事件不仅是无忧酒业一家区域酒企的个体表现,更成为行业深度调整期的标志性信号。在白酒行业整体从规模扩张转向价值深耕的转型阶段,部分中小酒企依靠粗放扩张、高杠杆运营的发展模式已难以为继。无忧酒业的困境,实则揭开了中小酒企淘汰赛的序幕。
今年,白酒行业遭遇真实的“冷空气”,甚至迎来十年来最不乐观的三季报。除贵州茅台和山西汾酒外,多数酒企出现营收与净利润双双下滑,部分企业净利润同比跌幅甚至超过100%。
白酒行业分析师蔡学飞对蓝鲸新闻记者表示,从已披露的三季报来看,当前白酒行业正经历一场深刻的“价值淬炼”,其本质是从过去依赖渠道压货的“泡沫繁荣”,回归到品牌与真实消费需求相匹配的理性阶段。
高企的库存对酒企和经销商的资金链均构成严峻挑战。《2025中国白酒市场中期研究报告》显示,行业平均存货周转天数已达900天,较上年同期进一步延长10%。
随着终端动销放缓,渠道库存压力已逐渐传导至价格体系。多地经销商反映,除飞天茅台之外的白酒品牌均出现价格“倒挂”现象,即批发价低于出厂价,经销商为回笼资金不得不低价抛售甩卖。这种局面进一步侵蚀了渠道利润,打击经销商信心,形成负向循环。
在这一背景下,缺乏品牌溢价与渠道控制力的中小酒企首当其冲。蓝鲸新闻获悉,部分新锐酒企已濒临崩盘,出现连续数月拖欠员工工资的情况,生存危机不断加剧。
尽管阵痛难免,但本轮深度调整也有助于行业挤出泡沫、回归健康发展轨道。白酒行业已告别“量价齐升”的普涨时代,步入以品牌、品质和渠道效率为核心的高质量竞争阶段。企业必须从过去追求规模扩张,转向构建真实的消费者黏性与可持续的动销能力。能否借此淬炼完成内部重构与模式升级,将直接决定酒企在下一轮行业复苏中的站位与命运。
免责声明:所有平台仅提供服务对接功能,资讯信息、数据资料来源于第三方,其中发布的文章、视频、数据仅代表内容发布者个人的观点,并不代表泡财经平台的观点,不构成任何投资建议,仅供参考,用户需独立做出投资决策,自行承担因信赖或使用第三方信息而导致的任何损失。投资有风险,入市需谨慎。

迁址公告
古东管家APP
关于我们
请先登录后发表评论