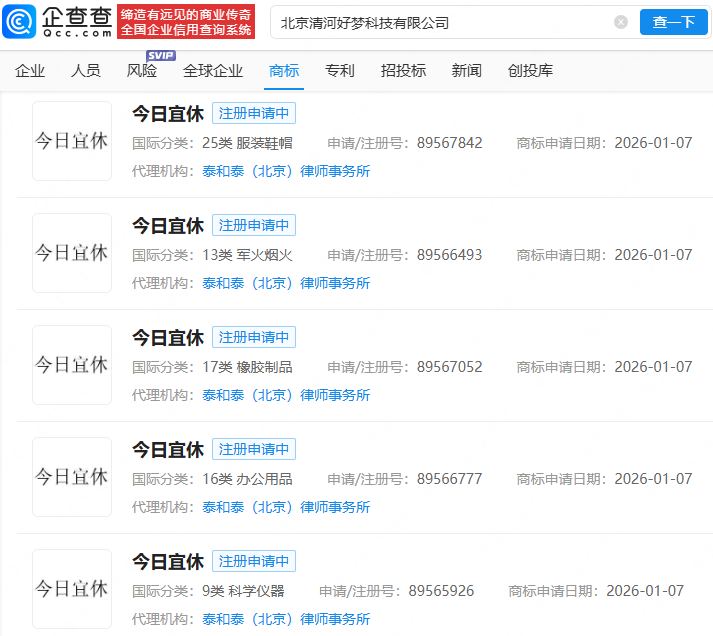
企查查APP显示,近日,王腾公司北京清河好梦科技有限公司申请注册多枚“ISHO”、“ISHO REST”商标,国际分类涉及通讯服务、珠宝钟表等,当前商标状态均为注册申请中。值得一提的是,今年1月,该公司申请注册多枚“今日宜休”商标,国际分类包括服装鞋帽、科学仪器等,当前商标状态均为注册申请中。


免责声明:所有平台仅提供服务对接功能,资讯信息、数据资料来源于第三方,其中发布的文章、视频、数据仅代表内容发布者个人的观点,并不代表泡财经平台的观点,不构成任何投资建议,仅供参考,用户需独立做出投资决策,自行承担因信赖或使用第三方信息而导致的任何损失。投资有风险,入市需谨慎。

迁址公告
古东管家APP
关于我们
请先登录后发表评论