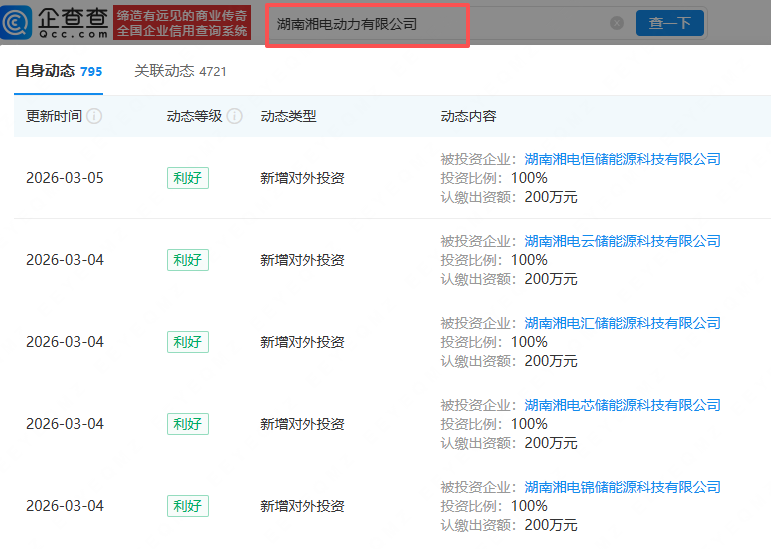
企查查APP显示,近日,湖南湘电动力有限公司对外投资成立多家能源科技公司,包括湖南湘电恒储能源科技有限公司、湖南湘电云储能源科技有限公司、湖南湘电汇储能源科技有限公司等。企查查股权穿透显示,新成立公司均由湘电股份(600416)间接全资持股。


免责声明:所有平台仅提供服务对接功能,资讯信息、数据资料来源于第三方,其中发布的文章、视频、数据仅代表内容发布者个人的观点,并不代表泡财经平台的观点,不构成任何投资建议,仅供参考,用户需独立做出投资决策,自行承担因信赖或使用第三方信息而导致的任何损失。投资有风险,入市需谨慎。

迁址公告
古东管家APP
关于我们
请先登录后发表评论